KNOWLEDGE BASED COMPUTER SYSTEM FOR BRAODCAST TRANSMITTER FOR FAULT DIAGNOSIS
R.K. SINGH
, Director(E0, All India Radio&Doordarshan, Staff Training Institute(T), Delhi.

ABSTRACT
This paper is based on the experience gained while developing Expert System for broadcast transmitters in A.I.R. Network. The necessity of Expert System was felt to meet the challenge of clearing faults in transmitter in the absence of transmitter expert in minimum time and ensuring safety of the personnel and system in the process. The Expert System is an intelligent computer program capable of performing at the level of transmitter experts and the paper deals with its design philosophy and methodology. All the elements of decision making process of transmitter expert have been incorporated in four modules, namely, Knowledge Base, Inference Engine, Explanation and Knowledge Acquisition modules. Decision trees for various complaints have been developed and used as main source for building Knowledge Base. Field trial runs of the Expert System have been carried out and found most encouraging.
KEYWORDS : TRANSMITTER ES, FAUTL DIAGNOSIS, BROADCASTING

1. INTRODUCTION

Radio Broadcasting has retained its importance as it most conveniently establishes vital mass link between the government and the people. A long interruption in broadcast service may create serious confusion in the minds of people. Modern generation high power transmitters are now used for broadcasting but being costly, very often standby transmitters are not provided and broadcast engineers strive to run the services with minimum breakdowns.Reliable operation of high power transmitter is a complex technical process. Even with advanced technology, faults do occur in transmitters for reasons like failure/ageing of components, transients, dust, mismatch in circuit etc. Very often the faults are of random and unpredictable nature and develop quickly. The faults are to be diagnosed and cleared fast without experimentations, which call for the services of a transmitter expert.

The acquisition of expertise takes a long time. Its transfer is an involved and difficult process and the transmitter experts may not have the time or patience to transfer the related knowledge. Further,the operating staff working at remotely located high power transmitters may not have the requisite expertise to deal with the faults and arrival of expert for the purpose may take time. Hence the need was felt to develop an Expert System and provide it at the transmitter which could serve as an expert and provide valuable help in fault clearing.

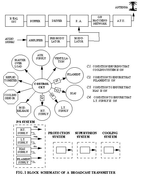
2. BROADCAST TRANSMITTER - A DESCRIPTION

Circuitry of a modern broadcast transmitter typically consists of Radio Frequency (RF) Chain, Audio Frequency (AF) Chain, Control Circuit, Power Supply System, Cooling System, Protection System and Supervision System as shown in fig 1.
 

        In the RF Chain, a high frequency carrier of rated power is generated in steps starting from a crystal oscillator upto the final Power Amplifier (PA) employing a very costly high power transmitting tube. In AF Chain, the audio signal is processed upto a desired level and used to modulate the RF carrier. The modulated carrier is fed to radiating mass through a feeder line after necessary matching. Control Circuit uses digital circuitry to achieve sequential operation of transmitter starting typically from Auxiliary Supply ON to Ventillation ON, Filament ON, Bias ON, LT ON, HT ON and finally Modulation Release. The Control Circuit also ensures protection of vital components and operating personnel against circuit disturbances. The Power Supply System provides the required DC voltages to various stages using solid state rectifiers. The main HV DC Supply is provided by using Thyristor Converter Unit. Protection System ensures protection of costly tubes and components by using devices like Crowbar, UV Detector, APD Monitor etc. Supervision System displays the status of functioning of various stages and occurance of primary complaints like tripping of MCB, abnormal door interlock, abnormal water temperature alongwith values or status of critical parameters through meters and lamps.

The complaints or faults of the transmitter are mainly based on the status of functioning of various stages and on the inferences derived from the primary complaints. They are typically classified as under:
(1) AUX NOT THROUGH (2) VENT NOT THROUGH (3) FILAMENT NOT THROUGH (4) BIAS NOT THROUGH (5) HT NOT THROUGH (6) HT NOT RAISING (7) AUDIO NOT THROUGH (8) RF POWER NOT THROUGH.

3. EXPERT SYSTEM FOR BROADCAST TRANSMITTER - A METHODOLOGY DESIGN

Development of ES involves interactive transformation of domain specific knowledge of transmitter expert into machine processable form. The transmitter experts are usually non computer professionals and so the development of ES has to be a joint venture of transmitter expert and computer expert. The process becomes inherently slow and it is also not feasible to associate both the experts for a long timeand hence it was decided to develop the ES in two stages.

        
        In the first stage all the elements of the decision making process of transmitter expert have been crystalised as shown in fig. 2. Thereafter a control flexible structure known as Expert System Shell as shown in fig. 3 has been developed by the computer expert comprising four basic modules, namely, Knowledge Base(KB), Inference Engine, Explanation Module and Knowledge Acquisition Module incorporating all the elements of the decision making process of transmitter expert.Kowledge Base of the shell is empty which is filled up by transmitter expert in second stage.




The Shell is built up by eliciting the information relating to the process and logic of the fault diagnosis from the transmitter expert interactively. While filling up the KB, the need of providing additional facilities like graphics, pictures etc. was felt in the data collection mode and at the time of fault confirmation, and the shell was modified accordingly. Interaction between the two experts continued till the desired level of ES could be realised.
4. CONCEPTUALISATION OF THE EXPERT SYSTEM (ES)

The ES should be able to diagnose the faults like a human expert and its performance level should be higher than the concerted efforts of many experts. The ES has been conceptualised as under.

i) Analysing in detail how the transmitter expert proceeds with his thought process while clearing
the faults. During this analysis, the elements of the thought process and the required domain
specific knowledge got crystalised.

ii) Breaking the entire fault clearing process into basic steps.

iii) Designing a user friendly computer program which proceeds towards fault diagnosis in a way
similar to that adopted by the transmitter expert.

        After developing the ES, its field trial runs were conducted successfully and its results utilised to remove the deficencies of the ES. Feedback received during the discussions with experts and users about the evaluation and utility of the ES has been used to refine the design of ES further to make it more effective and versatile.

4.1 DESIGN CONSIDERTATIONS:

Following aspects have been taken into account during the development of the Expert System.